???????????????????
????:???? > ???? > ????

????????

2024-12-10

???? www.cnlinyun.com
??
  • ????????
???????????????,?????????

??????:

????????????????????????????????????????????????????????????????????????????????????????????????????????,?????????????????????????????????????????????????????????????????????????????????,??????????????

????????:

???????????????????????????????,?????????

?????????,?????????????:?????,???????????,?????????????,??????????????,?????????????,??????????????,??????????????????????,???????????,??????????????????,????????????????,????????????????,?????????????????,????????????????????????????,???????????????,?????????????

??????????????:??????????????,?????????????,??????????????,???????????????????,????????????????,???????,??????????????,??????????????;????????????????,????????????????,????????????,???????????????????????,??????????,????????????

?????,?????????????,???????????????????????

??????????????:?????????????,?????????,????????????????,?????????????????????,?????????,?????????,?????????????????????,???????????,?????????;???????????????????,??????????,???????????

?????,????????????????

??????????????:????????????????,???????????????

?????,????????????

??????????????:??????????????,???????????????,??????????????,???????????

?????,??????????

??????????????:????????????,????????
 
????????

???????????????????,?????????????????????????,??,?????????????????????,??????????????????????,?????????????????????????????????,??????????????

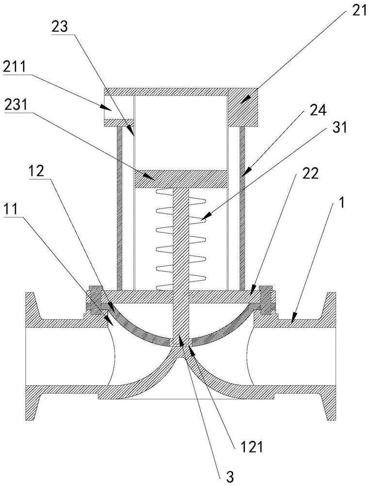
??????1,??????????????:????1????3???2,????2?????22????21,?????:????1???????12???11,????12???11??????12,????12??????22????,?????22???12????1??????????,????12???????121,????121?????????3?????,?????3???????121????,?????21????22???????23,????23????21?????????231,?????3????????121???????????231????,?????22???231???????31,????31??????3????????1??????12???11,???12???11???????12,?????22???????12??,????????22???12????1????,??12???????????12???121,??121?????,???3???????121????,???1???2????????;??????21????22??????23,???23????21?????????231,????231????3????,?????22???231???????31??????3??,????2??????,????2?????1???

???????21????????211,?????21????22?????????????24???????21???????211,??????211???,??????2??????231????,??231?????????3??????12????121,????12?????,??????211???,?????2??????????231????21??,???????3????,????12?????;??????21????22?????????24,???2???????,???????????

??????1???12????22??????????1???12????22????,????1???12???2?????

??????2???1????????????2???1????,???2???1?????????,???????2???1????,???????????

??????12?????12??????12???????12,???12?????

?????????????????????,??????????????,??????????????????????????????????????????????,???????????????????????

??????:

??1.?????,???????????,?????????????,?????:??????????????,?????????????,??????????????,??????????????????????,???????????,??????????????????,????????????????,????????????????,?????????????????,????????????????????????????,???????????????,?????????????

??2.??????1??????,?????:?????????????,???????????????????????

??3.??????1??????,?????:????????????????

??4.??????1??????,?????:????????????

??5.??????1??????,?????:??????????

??????

???????????????,???????????,?????????????,??????????????,?????????????,??????????????,??????????????????????,???????????,??????????????????,????????????????,????????????????,?????????????????,????????????????????????????,???????????????,???????????????????????????????????????????

????

????
?????